Samsung'un yeni amiral gemisinden ilginç özellik: Galaxy Z Fold 5 ekranı kağıt gibi katlanacak

Samsung, yeni bir katlanabilir akıllı telefon modeli ile piyasayı karıştıracak. Galaxy Z Fold 5 adıyla çıkması beklenen akıllı telefonun hem öne hem de arkaya doğru katlanabileceği ortaya çıktı.
Katlanabilir akıllı telefon denilince akla gelen ilk marka herhalde Samsung’dur. Güney Koreli şirket katlanabilir ekranlı telefonların son yıllarda popüler hale gelmesini sağladı. Ancak Galaxy Z Fold modellerinin bir özelliği eleştirilerin hedefindeydi; telefon ekranı tam olarak açıldığında ekranın ortasında bir girinti ortaya çıkıyor.
Nihayet teknoloji devi bu kusuru ortadan kaldıracak. Son sızıntılara göre, Galaxy Z Fold 5 modelinin ekranı çok daha başka olacak ve kusur da olmayacak.

GALAXY Z FOLD 5 ÖZELLİKLERİ GÖRÜNDÜ
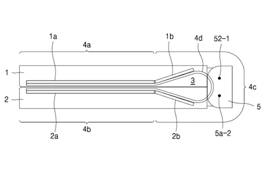
Güney Kore basınına göre, Galaxy Z Fold 5 ekranında su damlası şeklinde bir menteşe kullanılacak. Böylece Z Fold 5’in ortasında boşluk olmayacak ve düz bir şekilde katlanabilecek. Samsung’un yeni menteşe tasarımının adı ise ‘dumbbell’ olarak gösterildi ve teknoloji şirketinin bu patenti 2016 yılında aldığı ortaya çıktı.
Öte yandan, Galaxy Z Fold 5 ekranının eksik yönü ise IPX8 suya dayanıklılık sertifikasının olmaması, yani suya dayanıklı olmayacak.
Bununla birlikte, Galaxy Z Fold 5 iç ekranının daha pürüzsüz ve daha az görünür bir kırışıklığa sahip olacağı da ileri sürüldü. IPX8 suya dayanıklılık sertifikası yok.
Samsung Galaxy Z Fold 5'in ağırlığını önemli ölçüde azaltacak olan bu menteşe tasarımı sayesinde telefonun ekranı hem öne hem de arkaya doğru katlanabilecek.
(Webtekno)







