Apple'dan beklenmedik hamle: Yuvarlanabilir iPhone geliyor

Editör:
- Güncelleme:
Apple'dan beklenmedik hamle: Yuvarlanabilir iPhone geliyor
TEKNOLOJİ Haberleri

Apple'ın uzun süredir rakiplerine karşı katlanabilir iPhone geliştirdiği üzerinde duruluyor. Fakat bugün ortaya çıkan bir patentte firmanın daha farklı bir iPhone üzerinde düşündüğü ortaya çıktı.

Katlanabilir akıllı telefonlar yaklaşık olarak iki yıldır pazarda yerini alıyor. Samsung başta olmak üzere Huawei, Google ve Oppo da katlanabilir akıllı telefon modellerini üretti. Firmanın Android markalarından sonra ise gözler Apple'a çevrildi.

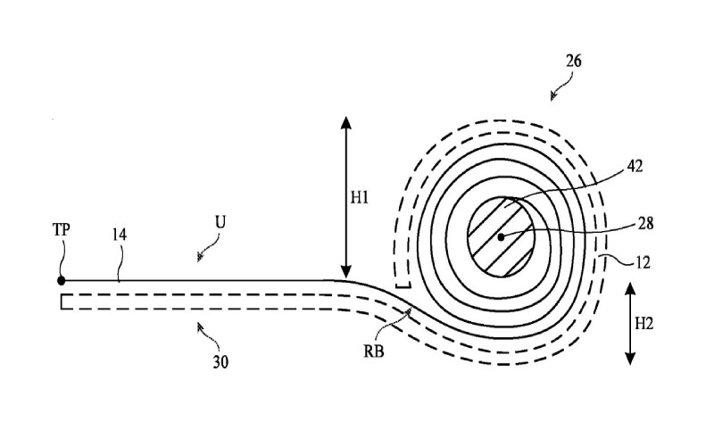
Daha önce ortaya çıkan raporlarda Apple'ın da katlanabilir akıllı telefon geliştirdiği belirtildi. Fakat bugün Apple Insider tarafından paylaşılan habere göre Apple "yuvarlanabilir iPhone" için patent aldı.

YUVARLANABİLİR IPHONE, 2025 YILINDAN SONRA ÇIKACAK

Apple Insider tarafından bugün paylaşılan habere göre Apple, "yuvarlanabilir iPhone" için patent aldı. Firma tarafından alınan patente göre telefon, kullanılmadığı durumlarda yuvarlanacak.

Apple'dan beklenmedik hamle: Yuvarlanabilir iPhone geliyor

Yuvarlanarak rulo haline gelecek iPhone'un ekranında koruyucu, ince ve şeffaf bir cam tabaka kullanılacak. Tabaka, hem telefonun kolayca sarılmasını sağlayacak hem de zarar görmesini engelleyecek.

Tüm bunlar dışında ayrıca yuvarlanabilir iPhone'da yepyeni bir özellik de bulunacak. Bu özellik sayesinde telefon el hareketleriyle kullanıcının ne yaptığını dokunma olmadan anlayabilecek.

Öte yandan belirtmek gerekiyor ki şirketin 2017 yılında da benzer bir cihaz üzerinde çalıştığına dair ortaya atılmıştı. Yani şirket içinde bu fikir pek de yeni değil. Yuvarlanabilir iPhone modelinin yakın zamanda akıllı telefon pazarına çıkmasının mümkün olduğu düşünülmiyor.

(Kaynak: Apple Insider)

UYARI: Küfür, hakaret, bir grup, ırk ya da kişiyi aşağılayan imalar içeren, inançlara saldıran yorumlar onaylanmamaktır. Türkçe imla kurallarına dikkat edilmeyen, büyük harflerle yazılan metinler dikkate alınmamaktadır.
Sonraki Haber Yükleniyor...