Apple Glass gerçek oluyor! Apple'dan heyecanlandıran patent başvurusu

Teknoloji severler yıllardır Apple'dan bir akıllı gözlük bekliyor ve şirket tarafından yapılan patent başvurularıyla birlikte beklentiler tekrardan alevleniyordu. Fakat bu sefer işler ciddi, şirketin yaptığı yeni patent başvurusu kullanıcıları tekrardan heyecanlandırdı.
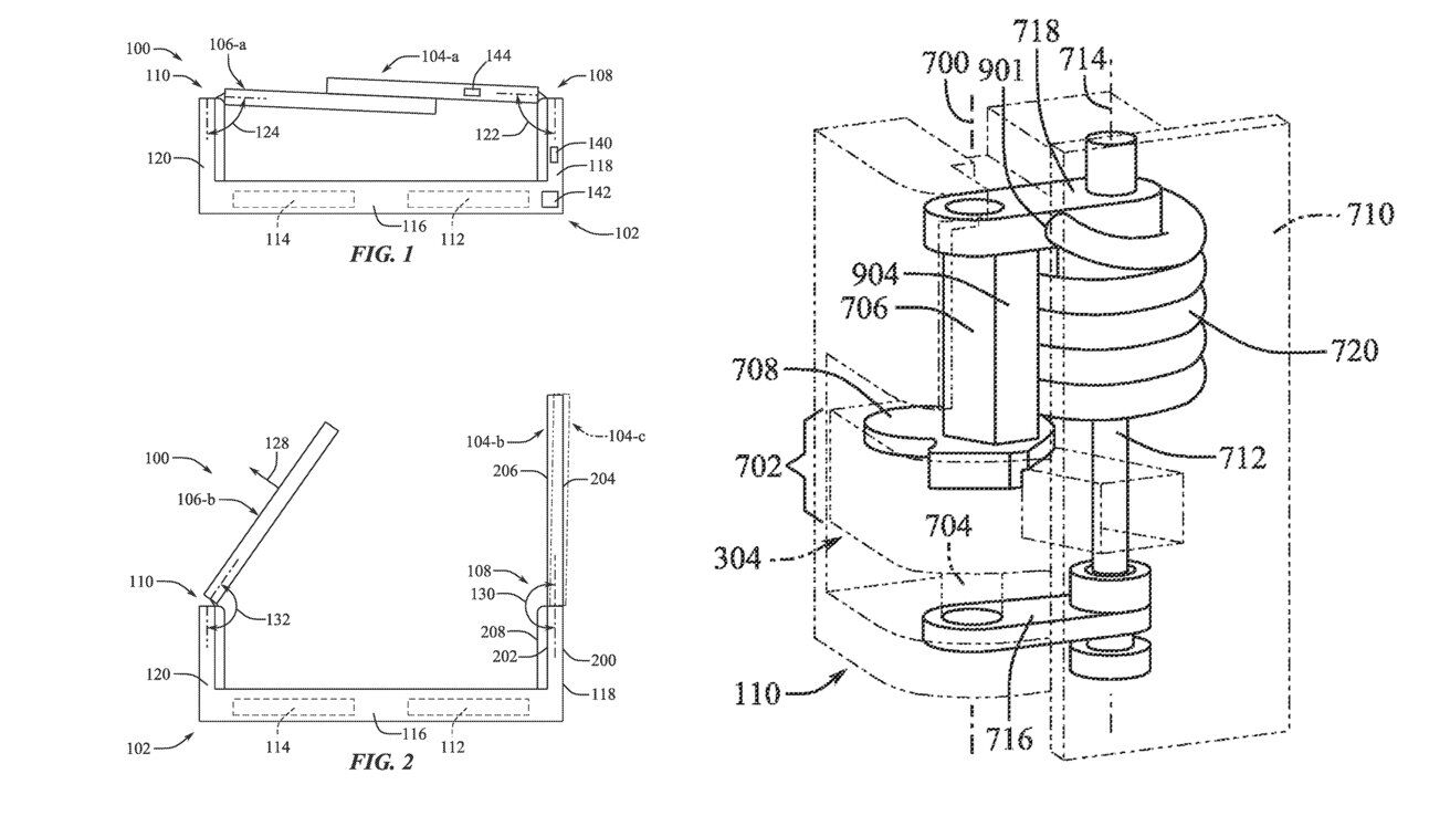
Apple Glass konsepti, uzun süredir konuşulan gözlüğün menteşe mekanizmasını tartışan bir patent başvurusuyla birlikte yeniden ortaya çıkmış gibi görünüyor.
Apple Vision Pro'nun tanıtılmasının ardından, akıllı gözlüklerin yolda olabileceğine dair söylentiler çıkmıştı. VR veya AR gözlüğünden daha ince olacak şekilde tasarlanan Apple Glass, cihazı gözlüklere daha yakın bir formda hafif bir AR platformu olarak konumlandırılıyor.

14 Şubat 2024 tarihinde yapılan bir patent başvurusunda Apple, “Çift Eksenli Menteşe Mekanizması ”nın bir tanımını sundu. Birleşik Devletler Patent ve Ticari Marka Ofisi'ne yapılan başvuruda ürünün en temel versiyonu tanımlanıyor. Ancak, yapılan başvuruda tekrar tekrar gözlükten bahsediliyor. Yani gerçekten de Apple bir akıllı gözlük geliştiriyor.
Yapılan patent başvurusunda, gözlüğün nasıl katlanacağı ve nasıl düz bir şekilde gözükeceği anlatılıyor. AppleInsider'ın haberine göre, proje yıllardır geliştiriliyor ve bazı sorunlarla karşılaşılmıştı. 2023'te karma gerçeklik gözlüğü Vision Pro'nun çıkışı yaklaşınca proje rafa kalkmıştı fakat şimdi tekrardan gündeme geldi.
Apple'ın 2026 ya da 2027 yılına kadar akıllı gözlük ürününü tanıtabileceği tahmin ediliyor.







